HOME > 제품소개 > 엔드밀


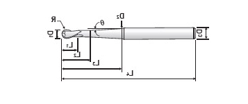
| EDP. No. | D1 | R | L1 | L2 | L3 | D2 | D3 | L4 | θ |
|---|---|---|---|---|---|---|---|---|---|
| DA542001 | 1/16 | 1/32 | 5/32 | 15/64 | 7/8 | .096 | 1/4 | 2-3/8 | 1°30’ |
| DA542002 | 1/16 | 1/32 | 5/32 | 15/64 | 1-5/8 | .208 | 1/4 | 3-1/8 | 3° |
| DA542004 | 1/8 | 1/16 | 1/4 | 21/64 | 2-1/16 | .216 | 1/4 | 3-5/8 | 1°30’ |
| DA542006 | 3/16 | 3/32 | 3/8 | 29/64 | 2-3/8 | .288 | 3/8 | 4-3/8 | 1°30’ |
| DA542008 | 1/4 | 1/8 | 1/2 | 5/8 | 2-1/16 | .325 | 3/8 | 4-3/8 | 1°30’ |
| DA542010 | 5/16 | 5/32 | 9/16 | 11/16 | 2-1/16 | .385 | 1/2 | 4-3/4 | 1°30’ |
| DA542012 | 3/8 | 3/16 | 11/16 | 13/16 | 2-3/8 | .458 | 1/2 | 5-1/16 | 1°30’ |
| DA542016 | 1/2 | 1/4 | 7/8 | 1 | 3-1/4 | .618 | 3/4 | 6-3/8 | 1°30’ |
| 탄소강 (S45C, S55C...) ~ HB225 |
합금강 (SCM, SK...) HB225~325 |
프리하든강 (NAK...) HRc30~50 |
열처리강 | 동 | 흑연 | 주철 FCD400. 500~ |
알루미늄 | 스테인리스강 | |
|---|---|---|---|---|---|---|---|---|---|
| ~HRc55 SKD61 | ~HRc55 SKD11 | ||||||||
| ○ | ○ | ◎ | ○ | ○ | ○ | ||||
| 인선부 (inch) | 자루부 |
|---|---|
| 0 ~ -.0012 | h6 |